什么是专利基本知识?
的有关信息介绍如下:1概述
专利是专利权的简称,专利权是一种独占权。它指的是一项发明创造,向专利局提出专利申请,经审查合格后,授予的那种专利权。要取得专利权,必须公开发明创造内容。因此,专利技术是公开技术,而不是保密技术。
这种保护方法具有以下特点:保护的技术领域宽,只要符合专利法规定的条件都可以申请专利,依法取得有效保护;因发明成果的公开,有可能得到充分的实施,发明人或发明单位可通过许可贸易等手段获得较多的收益;有利于打破技术封锁,推动技术的进步。
我国专利保护的对象包括三种,即发明、实用新型、外观设计,我国专利权的期限,发明专利为20年,实用新型和外观设计为10年,如图7-14所示。

图7-14专利保护年限
1)发明
专利法所称的发明分为产品发明(如机器、仪器、设备和用具等)和方法发明(制造方法)两大类。
产品发明是人们通过研究开发出来的关于各种新产品、新材料、新物质等的技术方案。专利法上的产品,可以是一个独立、完整的产品,也可以是一个设备或仪器中的零部件。其主要内容包括:制造品(如机器、设备)以及各种用品材料(如化学物质、组合物)等具有新用途的产品。
方法发明是指人们为制造产品或解决某个技术课题而研究开发出来的操作方法、制造方法以及工艺流程等技术方案。方法可以是由一系列步骤构成的一个完整过程,也可以是一个步骤。它主要包括:制造方法,即制造特定产品的方法;其他方法,如测量方法、分析方法、通信方法等;产品的新用途。
2)实用新型
实用新型也是一种新技术方案。在这一点上,它同发明没有区别。实际上,它的确也是一种发明,只是对它的创造性要求较低,所以有人称之为“小发明”,它与发明有几点区别。实用新型专利指的产品形状,是指产品所具有的、可以从外部观察到的确定的空间形状。无确定形状的产品,如气态、液态、粉末状、颗粒状的物质或材料,其形状不能作为实用新型产品的形状特征。实用新型专利指的产品构造是指产品的各个组成部分的安排、组织和相互关系。
3)外观设计
外观设计也称新式样。它不是技术方案,这一点同发明、实用新型大不相同。外观设计必须是对产品外表所作的设计。外观应当富有美感。但是,是否具有美感很难确定一个客观标准,专利局对这一点的审查并不严格。因此,只要是设计产品外形、图案、色彩的设计,都可申请外观设计专利。
授予专利权的发明、实用新型应当具备新颖性、创造性和实用性,授予专利权的外观设计应当具备新颖性、独创性。
2申请专利的过程
申请专利的大致流程是:
(1)首先纂写专利申请文件,以实用新型专利为例,就应当包括实用新型专利请求书、说明书、说明书附图、权利要求书、摘要及摘要附图。申请费用减缓的,应提交费用减缓请求书及相应的证明文件。若委托专利代理机构的,应提交委托书。
(2)然后提交申请文件,可以提交电子资料,也可以提交纸质文档。企业或高校申请专门的电子端口用于提交申请文件,这样减少了资料在运输过程中浪费的时间,也很方便快捷。
(3)专利局在收到文件后,就会发放“专利受理通知书”,即专利申请资料被接收,这时应缴纳专利受理费用。
(4)专利局在收到费用后,就会由专人进行专利的审核,如果没有通过就会有修改意见,如果通过就会发放“专利授权通知书”,并由申请人缴纳专利授权费用。
(5)当专利局收到费用后,就会将专利书邮寄到联系人处。
大学本科生以申请实用新型专利居多,现以西南石油大学机电院2010级学生申请的“一种不定轴旋转窗户”为例,来说明实用新型专利的申请资料如何编写。
“专利请求书”主要关于项目的名称、发明人、申请人、联系人和提交资料的汇总。
“权利要求书”是申请人对所要求保护的技术内容和保护范围给出清楚、准确限定的法律文件,是发明或实用新型专利申请文件中最重要的组成部分。“一种不定轴旋转窗户”这样进行表述:
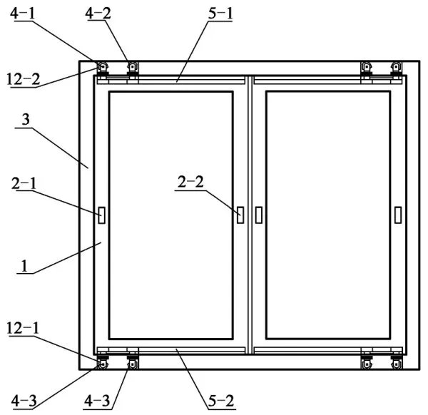
1.一种不定轴旋转窗户,是由窗叶、窗叶把手、窗框、万向节轮系、T形窗叶滑道和导槽组成。其特征在于:窗叶(1)为长方形的框,框内装玻璃,窗叶(1)左边中部设置窗叶把手A(2-1)、右边中部设置窗叶把手B(2-2),在窗叶(1)上方边上安装T形窗叶滑道A(5-1),窗叶下方边上安装T形窗叶滑道B(5-2);窗框(3)为方形架子,固定在建筑墙中,导槽A、B(12-1、12-2)安装在窗框(3)的上下两个转角上并固定,导槽A、B(12-1、12-2)安装在窗叶关闭时的里面一边;万向节轮系分上下两组,上方一组由万向节轮A(4-1)与万向节轮B(4-2)用节轮间连杆(9)连接,下方一组由万向节轮C(4-3)与万向节轮D(4-4)用节轮间连杆(9)连接,将万向节轮系上方一组的两个滑块(11)安装在T形窗叶滑道A(5-1)内,两个滚轮(10)安装在左上角导槽B(12-2)内,下方一组的两个滑块(11)安装在T形窗叶滑道B(5-2)内,两个滚轮(10)安装在左下角导槽A(12-1)内;右边窗叶与左边窗叶(1)结构相同,为左右对称结构。
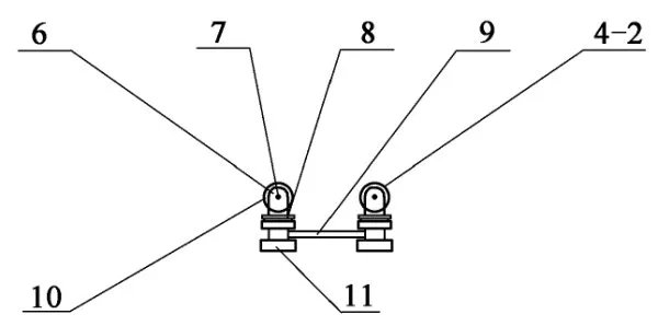
2.根据权利要求1所述的不定轴旋转窗户,其特征是:所述万向节轮A、B、C、D(4-1、4-2、4-3、4-4)是由滚轮支架(6)、滚轮轴(7)、万向节(8)、滚轮(10)和滑块(11)构成;万向节(8)一端连接滑块(11)、另一端连接滚轮支架(6),用滚轮轴(7)将滚轮(10)与滚轮支架(6)连接;用节轮间连杆(9)将两个万向节轮A、B(4-1、4-2)连接成一个整体,用节轮间连杆(9)将两个万向节轮C、D(4-3、4-4)连接成一个整体。

图1“一种不定轴旋转窗户”结构示意图
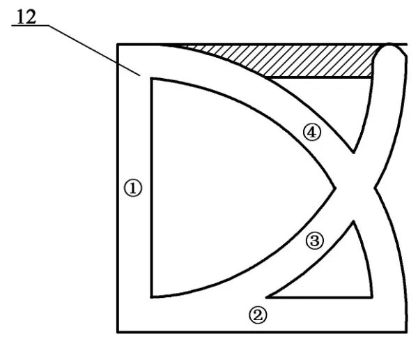
3.根据权利要求1所述的不定轴旋转窗户,其特征是:所述左下角导槽A(12-1)的形状是由两条相互垂直的直线滑轨①、②构成,在垂直的直线滑轨内侧设置两条圆弧滑道③、④,圆弧滑道③起于直角下边、止于上边,圆弧滑道④起于上边角、止于下边滑道②;左上角的导槽B(12-2)与导槽A(12-1)为上下水平对称结构。
本实用新型涉及一种用于房居建筑及家居的窗户,特别适用于楼层较高或窗户易脏难清洗的不定轴旋转窗户。它能解决窗户内外两面难清洗及改善室内空气流通的难题。其技术方案是:窗叶为长方形的框,左端边中设置窗叶把手A,右端边中设置窗叶把手B,在窗叶上下方边上安装T形窗叶滑道A、B;窗框固定在建筑墙中,导槽A、B安装在窗框的上下两个转角上;万向节轮系分上下两组,由万向节轮A、B用节轮间连杆连接安装在上面,由万向节轮C、D用节轮间连杆连接安装在下面,滑块置于上、下方T形窗叶滑道,滚轮置于左上、下角导槽内。本旋转窗户开关方便顺畅,易于维护、清洗,能调节进风量和进风方向,改善了室内空气流通,适用于楼层较高的房屋建筑。
“说明书摘要”是对说明书的核心的提炼,包括了背景、实现方式、应用范围。“一种不定轴旋转窗户“这样进行表述:
“摘要附图”是以一张最能体现项目的图片进行提交。
“说明书”应当写明实用新型的名称,该名称应当与请求书中的名称一致。说明书应当包括以下内容:技术领域(写明要求保护的技术方案所属的技术领域)、背景技术(写明对发明或者实用新型的理解、检索、审查有用的背景技术,有可能的,并引证反映这些背景技术的文件)、发明内容(写明发明或者实用新型所要解决的技术问题以及解决其技术问题采用的技术方案,并对照现有技术写明发明或者实用新型的有益效果)、附图说明(说明书有附图的,对各幅附图作简略说明)、具体实施方式(详细写明申请人认为实现发明或者实用新型的优选方式,必要时举例说明;有附图的,对照附图)。“一种不定轴旋转窗户”这样进行表述:
技术领域:
本实用新型涉及一种用于房屋建筑及家居的窗户,特别适用于楼层较高以及窗户容易脏且清洗频繁的一种不定轴旋转窗户。
背景技术:
在日常建筑及家居生活以及房屋装修中,楼层较高时所安装窗户的玻璃清洗是麻烦的工作,所以大都市摩天大楼中就出现了所谓“蜘蛛人”的高空窗户清洁工这一高危险的职业,他们的工作环境恶劣,承受的风险极大,迫切需要一种新的窗户设计来解决所面临的问题。基于上述窗户清洗工作所带来的难题,我们设计了这一种不定轴旋转窗户,通过窗框在滑道中的移动旋转达到窗户内外两面的翻转,便于清洗工作的安全便捷进行。现有的多种旋转窗设计,其旋转轴线都是固定的,占用空间比较大,同时开窗的角度受到一定的限制,达不到所占有限空间的高效利用,有的设计还存在影响美观和容易失效损坏的缺陷。本设计的不定轴旋转窗户,在解决现有窗户问题开度有限以及容易损坏缺点以外,还可通过不定轴的旋转移动改善室内空气的流通质量。
发明内容
本实用新型的目的是:为了解决窗户内外两面的清洗难题以及通过窗户的不定轴运动来增加窗的开度以及便于维护,同时为了改善室内空气流通质量,特提供一种不定轴旋转窗户。
为了达到上述目的,本实用新型采用以下技术方案:一种不定轴旋转窗户,是由窗叶、窗叶把手、窗框、万向节轮系、T形窗叶滑道和导槽组成。其结构特征在于:窗叶为长方形的框,框内装玻璃,窗叶左边中部设置窗叶把手A、右边中部设置窗叶把手B,在窗叶上方边上安装T形窗叶滑道A,窗叶下方边上安装T形窗叶滑道B;窗框为方形架子,固定在建筑墙中,导槽A、B安装在窗框的上下两个转角上并固定,导槽A、B安装在窗叶关闭时的里面一边;万向节轮系分上下两组,上方一组由万向节轮A与万向节轮B用节轮间连杆连接,下方一组由万向节轮C与万向节轮D用节轮间连杆连接,将万向节轮系上方一组的两个滑块安装在T形窗叶滑道A内,两个滚轮安装在左上角导槽B内,下方一组的两个滑块安装在T形窗叶滑道B内,两个滚轮安装在左下角导槽A内;右边窗叶与左边窗叶结构相同,为左右对称结构。
上述万向节轮A、B、C、D是由滚轮支架、滚轮轴、万向节、滚轮和滑块构成;万向节一端连接滑块、另一端连接滚轮支架,用滚轮轴将滚轮与滚轮支架连接;用节轮间连杆将两个万向节轮A、B连接成一个整体,用节轮间连杆再将两个万向节轮C、D连接成一个整体。
上述左下角导槽A(如图3所示)的形状是由两条相互垂直的直线滑轨①、②构成,在垂直的直线滑轨内侧设置两条圆弧滑道③、④,圆弧滑道③起于直角下边、止于上边,圆弧滑道④起于上边角、止于下边滑道②;左上角的导槽B与导槽A为上下水平对称结构。
本实用新型的有益效果是:(1)滚轮上部连接装置采用万向节设计可以解决窗户在移动过程之中形成的死点问题,使开关窗的动作更为顺畅;(2)经过设计使窗户的整体性变强,也更易于维护,便于清洗;(3)由于拥有不同于传统的定轴转动窗户开关设计,采用的不定轴旋转可以很好的拓展运动空间;(4)“一推、一转、一拉”的连续运动形式丰富了窗户的打开方式,使开窗动作更加方便省力;(5)在开窗的过程之中由于运动空间的拓展,同时窗户在窗框之中的方位可以随意变化,还可调节进风量和进风方向,三个方向的自然风被引导进入室内,能改善室内的空气流通质量以及加快空气更新速率。
附图说明:
下面结合附图对本实用新型作进一步说明。
图1为本实用新型不定轴旋转窗户的结构示意图。
图2为本窗户万向节轮4-1的结构示意图。
图3为本窗户导槽12-1结构示意图,图内①、②为直线滑轨,③、④为圆弧滑轨。
图中:1.窗叶,2-1.窗叶把手A,2-2.窗叶把手B,3.窗框,4-1.万向节轮A,4-2.万向节轮B,4-3.万向节轮C,4-4.万向节轮D,5-1.T形窗叶滑道A,5-2.T形窗叶滑道B,6.滚轮支架,7.滚轮轴,8.万向节,9.节轮间连杆,10.滚轮,11.滑块12-1.导槽A,12-2.导槽B。
具体实施方式:
按照图1所示,首先将窗叶的导槽A、B安装在窗框3的上下两个转角上并固定,成对称分布,导槽A、B位于窗叶1关闭时的里面一边;其次将万向节轮A、B中的一组滚轮10置于其中一个导槽A的12-1中,其他三个导槽同样安装;最后将万向节轮A、B中的两个滑块11安装于窗户窗叶1的T形窗叶滑道A5-1中,其他三个万向节轮同样安装,至此360°不定轴旋转窗户安装完毕。

图2“一种不定轴旋转窗户”万向节轮4-1结构示意图
按照图2所示,该万向节轮4-1是由滚轮支架6、滚轮轴7、万向节8、滚轮10和滑块11构成,万向节8的一端连接滑块11,另一端连接滚轮支架6,用滚轮轴7将滚轮10和滚轮支架6连接,用节轮间连杆9将两个万向节轮A、B连接成一个整体。
按照图3所示,导槽A的形状是由两条相互垂直的直线滑轨①、②构成,在垂直的直线滑轨内侧设置两条圆弧滑轨③、④,图中空白部分表示开有导槽,阴影部分不开导槽。
使用:

图3“一种不定轴旋转窗户”导槽12-1结构示意图
本旋转窗户打开:如图1所示,以左边的窗叶1为例,用手向里拉动窗叶把手B2-2,使窗叶1绕着靠近窗框3的万向节轮A、C旋转,而万向节轮B、D(图2)中的另一个滚轮10则在导槽A、B中的滑道③中滚动,以实现窗户的打开;旋转:然后向左拉动窗叶把手B2-2,使窗叶绕着里边的滚轮10旋转,另一滚轮10则在导槽A、B中的滑道④中滚动,同时万向节轮A4-1(图2)中的滑块11可以在窗叶1中的T形窗叶滑道A5-1中滑动,以实现窗叶1的不定轴的旋转;另外,向右拉动窗叶把手B2-2,使万向节轮A4-1(图2)中靠里边的滚轮10在导槽A、B中直线滑道②中滚动,万向节轮A4-1(图2)中的另一滚轮10则在导槽A、B中直线滑道①中滚动,由于两滚轮的间距固定,相当于一条定长的直线的两端点在一个等腰直角三角形的两直角边运动(椭圆机构运动原理),同时万向节轮A4-1(图2)中的滑块11可以在窗叶1中的T形窗叶滑道5中滑动,结合上述两种情况的正、反旋转,以实现窗叶的360°不定轴旋转;关闭:无论打开后的窗叶1处于任何位置,通过以上的旋转方式能实现初始打开窗户时窗叶的位置,然后像一般窗户关闭即可。另外的一些关闭窗户的方式都能在旋转中实现。
“说明书附图”是与说明书中提到的图,如“一种不定轴旋转窗户”的各个结构示意图。
专利权是指专利权人在法律规定的范围内独占使用、收益、处分其发明创造,并排除他人干涉的权利.专利权具有时间性、地域性及排他性.此外,专利权还具有如下法律特征:
(1)专利权是两权一体的权利,既有人身权,又有财产权.
(2)专利权的取得须经专利局授予.
(3)专利权的发生以公开发明成果为前提.
(4)专利权具有利用性,专利权人如不实施或不许可他人实施其专利,有关部门将采取强制许可措施,使专利得到充分利用.



